Биениемер.Устройство и правила работы
Содержание:
1. Назначение2. Способ измерения
3. Подготовка к работе
Назначение
Биениемер ПБ-500 предназначен для контроля радиального и торцевого биения тел вращения, установленных в центрах. Он используется в металлообрабатывающих цехах машиностроительных предприятий.
Устройство
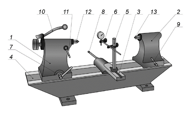
Прибор состоит из станины, верхнего и нижнего центров, сменной втулки, маховика, каретки и измерительного штока. Кронштейн на станине удерживает верхний центр, а нижний центр размещен в сменной втулке. Для измерения конических колес втулка заменяется оправкой. Каретка смаховиком перемещает измерительный узел, который можно регулировать по высоте. Измерительный узел включает направляющую гильзу с хомутиком для индикатора и подвижный измерительный шток с наконечником на переднем конце.

1 – бабка с подвижным центром; 2 – бабка с неподвижным центром; 3 – каретка; 4 – основание; 5 – стойка каретки; 6 – державка индикатора; 7, 8, 9 – рукояти ручного зажима; 10 – рычажная рукоять; 11 – стопорная рукоять; 12, 13 – центры.
Способ измерения
Биение зубчатого венца определяется по радиальному положению измерительного наконечника, который вводится во впадины зубьев относительно оси колеса. Разница показаний индикатора при различных угловых положениях колеса считается величиной биения. Для конических колес биение измеряется в плоскости, перпендикулярной образующей делительного конуса. Измерительный наконечник имеет форму усеченного конуса с углом при вершине, равным удвоенному углу зацепления.
Подготовка к работе
2. Распакуйте прибор после 5 часов в помещении с температурой +10 до +35 °С и влажностью не более 80 %.
3. Удалите защитную смазку.
4. Протрите направляющие и детали чистой тканью.
5. Нанесите тонкий слой масла на направляющие.
6. Проверьте надежность стопорения бабок, каретки и пиноли.
7. Установите индикатор в державке.
8. Установите бабки на расстоянии, соответствующем длине детали.
9. Поместите деталь в центры, используя рычажную рукоять для закрепления.
10. Установите каретку со стойкой для индикатора напротив проверяемого участка и закрепите индикатор.
11. Приведите наконечник индикатора в контакт с деталью, предварительно переместив его на ~1 мм, и установите стрелку на нуль.
12. Вращайте деталь на 360º и определите величину биения по отклонению стрелки индикатора.
13. Проверяйте точность прибора по контрольному стержню длиной 300 мм; радиальное биение не должно превышать 0,02 мм.
Интернет-магазин beltools.ru предлагает измерительный инструмент в том числе биенемеры, калибры, нутромеры, индикаторы измерительные, микрометры, штангенциркули.
